Прокладки стальные ГОСТ 34655-2020, ОСТ 26.260.461-99, ГОСТ Р 53561-2009, ГОСТ 28759.8-90, ОСТ 26-845-73, АТК 26-18-6-93, ГОСТ 10493-81, ГОСТ 15180-86, ГОСТ 52376, ASME B 16.20, BS1560, MSS SP44, API Spec.6A, EN 12560-5, ASME/ANSI B16.5, СНП, ПОН, ТРГ, ПУТГ, МБ, ПК, ТМКЩ, ВАТИ 22, МБС, Ф-4
Изготовим из сталей:
09Г2С, 12Х18Н10Т, 08Х18Н10Т, 08КП, 20Х13, 08Х13, 10Х17Н13М2Т, 10Х17Н13М3Т, 30ХМ,
AISI 904, 904L, 304, 304L, 310, 316, 316L, 316Ti, 321, 317, 310s

ПРОКЛАДКИ ОВАЛЬНОГО, ВОСЬМИУГОЛЬНОГО СЕЧЕНИЯ, ЛИНЗОВЫЕ СТАЛЬНЫЕ ДЛЯ ФЛАНЦЕВ АРМАТУРЫ
Стандарт подготовлен на основе применения ГОСТ Р 53561-2009.
Настоящий стандарт устанавливает конструкцию, размеры и общие технические требования на стальные прокладки овального, восьмиугольного сечения для фланцевых соединений арматуры с фланцами, имеющими уплотнительную поверхность исполнения 7 по ГОСТ 12815 и исполнения J по ИСО 7005-1, а также конструкцию, размеры и общие технические требования на линзовые прокладки с фланцами, имеющими уплотнительную поверхность исполнения 6 по ГОСТ 12815.
Прокладки по конструкции предусматривают трех типов:
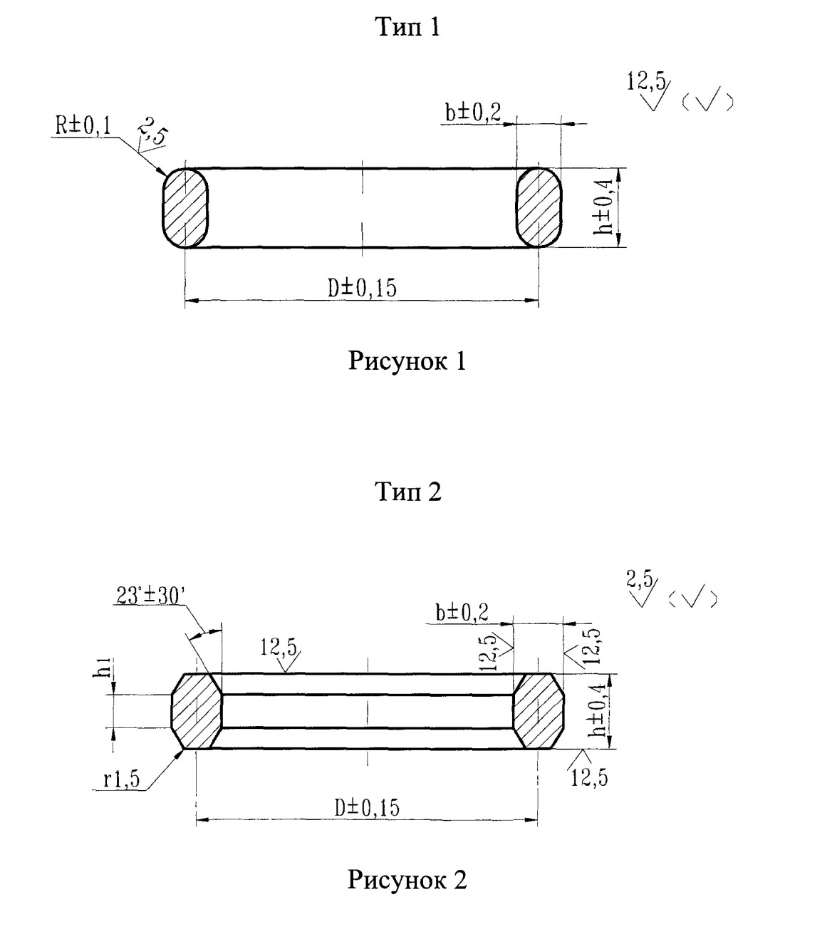
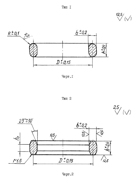
1 — прокладки овального сечения (рис.1)
2 — прокладки восьмиугольного сечения (рис.2)
3 — линзовые прокладки (рис.3)

ПРОКЛАДКИ ОВАЛЬНОГО
И ВОСЬМИУГОЛЬНОГО СЕЧЕНИЯ
СТАЛЬНЫЕ ДЛЯ ФЛАНЦЕВ АРМАТУРЫ
Настоящий стандарт устанавливает конструкцию, размеры и общие технические требования на
прокладки стальные овального и восьмиугольного сечения для фланцевых соединений арматуры и
трубопроводов на условное давление Ру от 6,3 до 16,0 МПа и температуру от минус 70 до 600 °С.
Прокладки по конструкции и размерам предусматриваются двух типов:
Тип 1 - овального сечения (рис.1)
Тип 2 - восьмиугольного сечения (рис.2)

ПРОКЛАДКИ ОВАЛЬНОГО И
ВОСМИУГОЛЬНОГО СЕЧЕНИЯ СТАЛЬНЫЕ
ДЛЯ ФЛАНЦЕВ АРМАТУРЫ
Настоящий АТК устанавливает конструкцию, размеры и технические требования на прокладки стальные
овального и восьмиугольного сечения для фланцевых соединений арматуры и трубопроводов на условное давление Ру от 6,3 до 16,0 МПа
и температуру от минус 70 до 600 °С.
АТК устанавливает два типа прокладок:
тип 1 - овального сечения (черт.1)
тип 2 - восьмиугольного сечения (черт.2)
486262@bk.ru
+7 (3812) 48-62-62
www.flanec-omsk.ru